Conacord Logo
Skip to main content
Wishlist
Wishlist
  • Blog
  • Projects
  • Downloads
  • About Conacord
Conacord logo

CONACORD Voigt GmbH & Co. KG

Seilerweg 10
59556 Lippstadt

+49 2941 956-0
post@conacord.de

Informations

ProjectsDownloadsAbout Conacord

Contact

Sign up for our newsletter now!

Informations
ProjectsDownloadsAbout ConacordImprintData PrivacyTerms and Conditions

Contact

©️ CONACORD Voigt GmbH & Co. KG

product lookup
product lookup

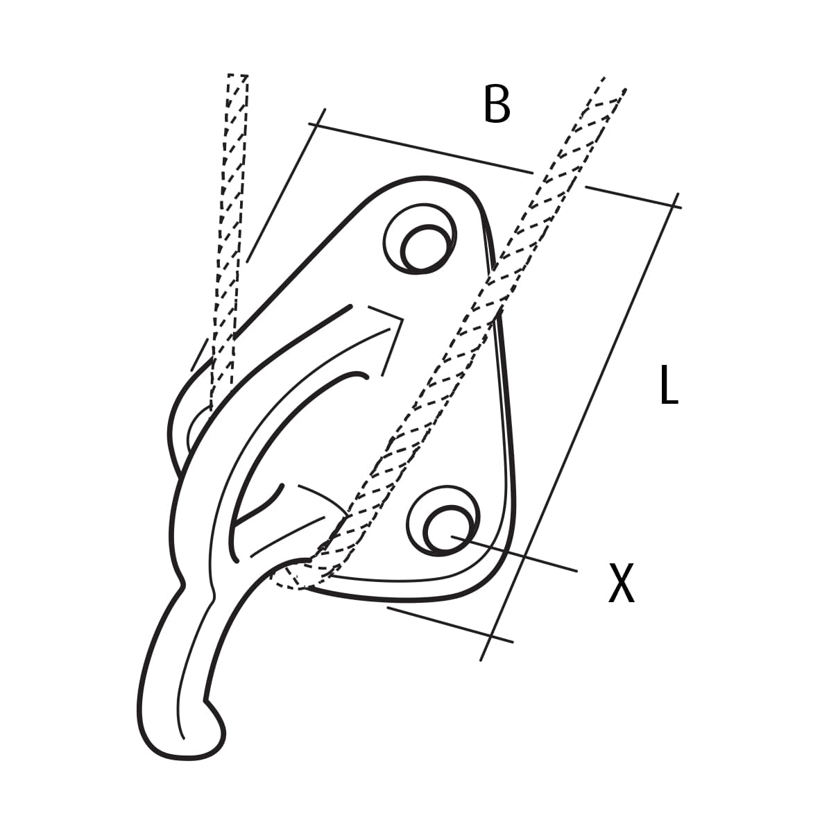
Cover hook 50x45mm, ring

hot dipped

Item Number:

534594

Dimension X (mm):

5

Coating:

Galvanized

Width (w) (cm):

4,5

Group:

Fastening

Length (l) (cm):

5

Material:

Steel

Surname:

Tarpaulin Hooks

Ve (st):

5

Packaging:

Vke (st):

1

Warning:

Not For Lifting - Not For Swinging - No Personal Safety

Suitable products

Covering net 2,20x1,50m, PPM

Material:
Polypropylene, Multifil
Group:
Networks
Packaging:
Bag
Diameter / Thickness (mm):
3

Availability online and in stores