



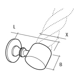
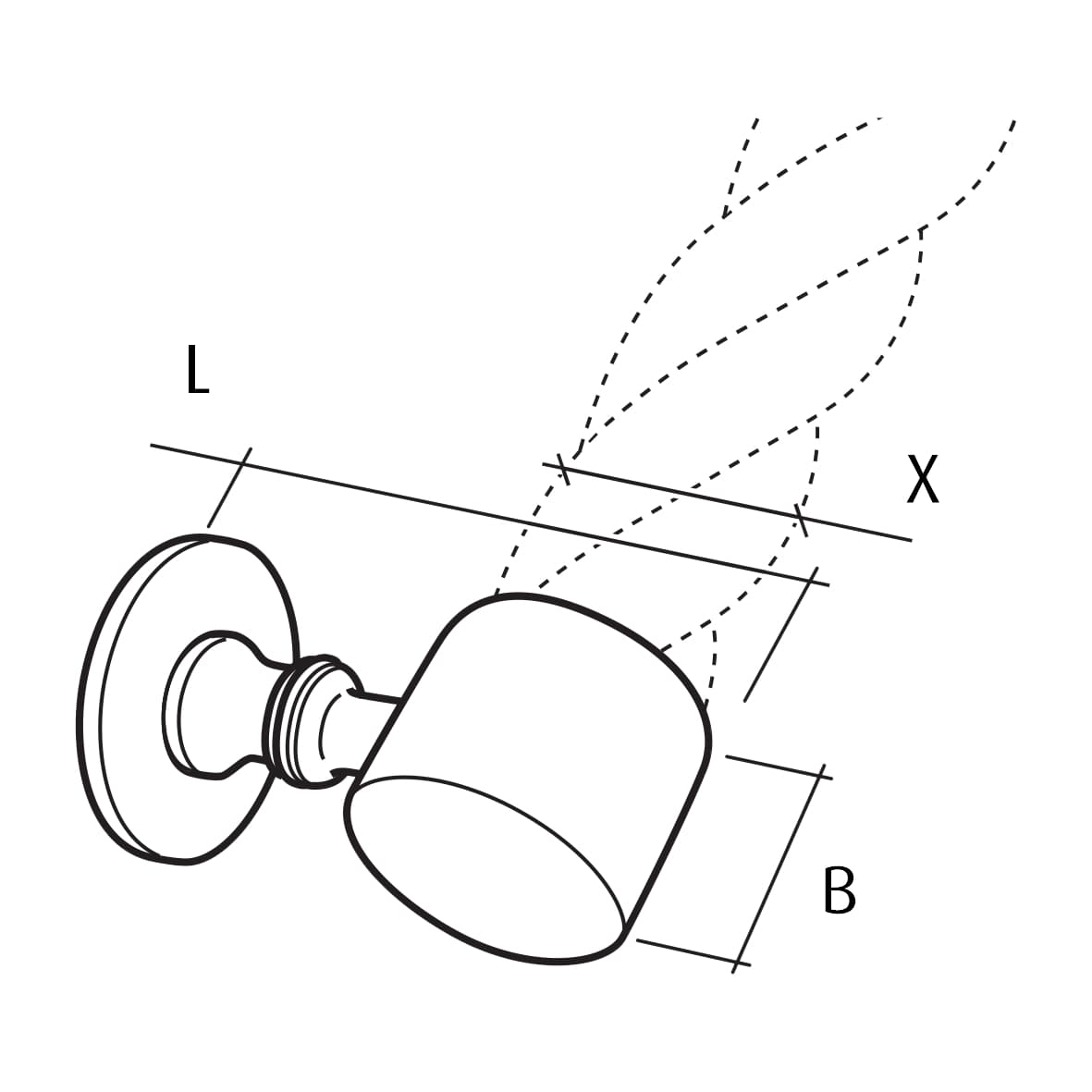
End bracket, brass
30mm-ropes
Item Number:
581116
Dimension X (mm):
30
Comment:
Complete With Fixing Screws
Width (w) (cm):
3
Color:
Brass
Group:
Handrail Accessories
Length (l) (cm):
7,5
Material:
Brass Cast
Surname:
End Bracket
Ve (st):
5
Packaging:
Bag
Vke (st):
1
Warning:
Not For Lifting - Not For Swinging - No Personal Safety




