



End bracket, wrought iron
30mm-ropes
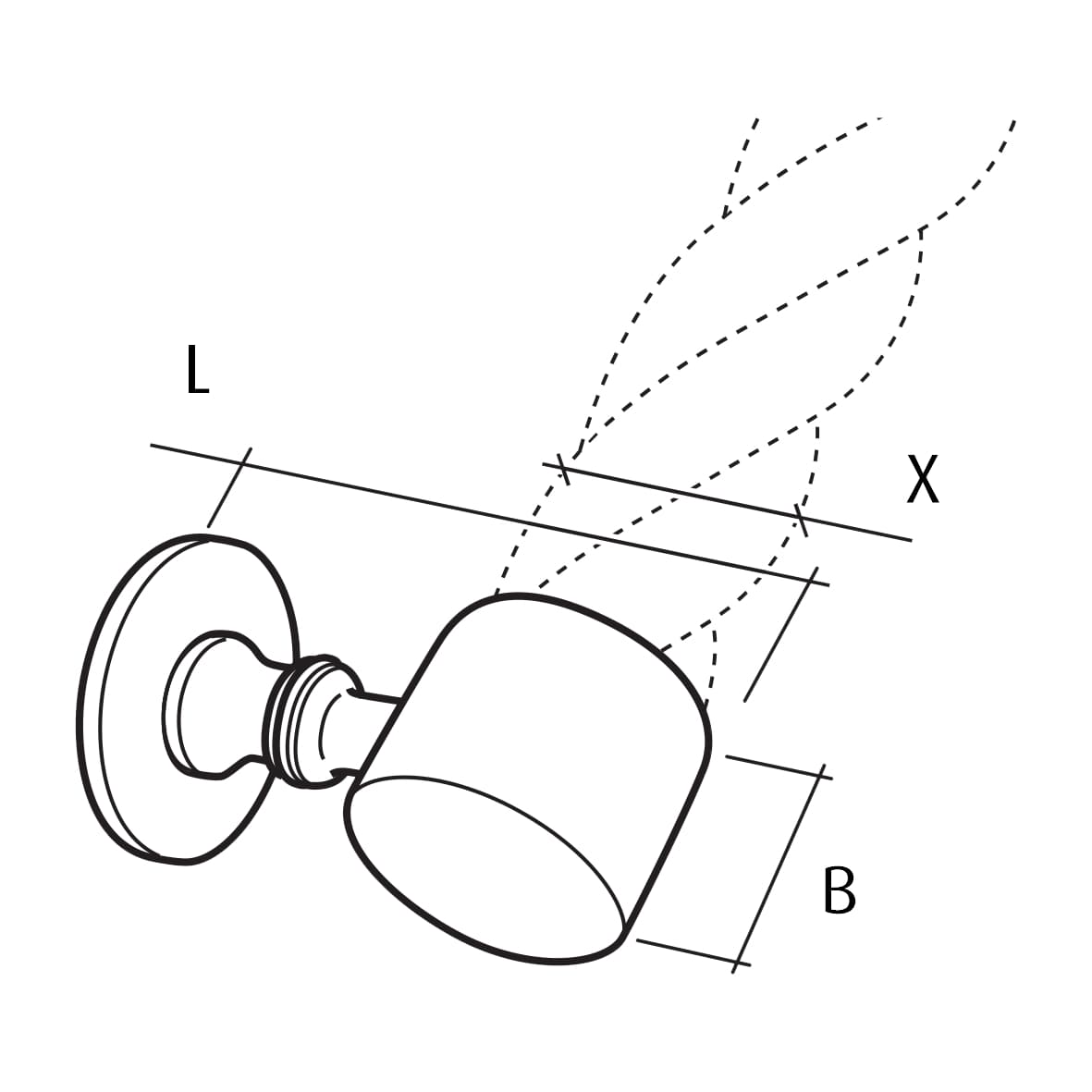
Item Number:
581017
Dimension X (mm):
30
Comment:
Complete With Fixing Screws
Width (w) (cm):
3
Color:
Rustic
Group:
Handrail Accessories
Length (l) (cm):
7,5
Material:
Iron
Surname:
End Bracket
Ve (st):
4
Packaging:
Bag
Vke (st):
1
Warning:
Not For Lifting - Not For Swinging - No Personal Safety



