


End hook, wrought iron
30mm-ropes
Item Number:
581031
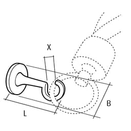
Dimension X (mm):
18
Comment:
Complete With Fixing Screws
Width (w) (cm):
6
Color:
Rustic
Group:
Handrail Accessories
Length (l) (cm):
5,5
Material:
Iron
Surname:
End Hook
Ve (st):
4
Packaging:
Bag
Vke (st):
1
Warning:
Not For Lifting - Not For Swinging - No Personal Safety



